Перед наступлением холодов окна нужно подготовить. Меняя режим оконных систем, их пользователи продлевают срок службы изделий. В зависимости от положения крепежа в теплый и холодный сезон створка прилегает к раме с разной плотностью. Зимой происходит сжатие материала, летом — расширение. Потому, регулируя фурнитуру, можно повысить долговечность уплотнительного контура и крепежа.
Когда требуется менять режим окон?


- остекление продувает, в комнату проникает холодный воздух, пыль;
- створка плохо открывается/ закрывается, ее заклинивает в положении проветривания;
- створка провисает из-за изношенных петель.
Очень легко установить зимний режим на пластиковых окнах, оснащенных фурнитурой Maco, Siegenia, Roto. У нее реализована возможность «смены сезона», предусмотренная в любой фурнитуре среднего и премиального класса.
Подготовка окна к зиме своими руками
Чтобы отрегулировать окно к зиме самостоятельно, выполните следующие шаги.
- Очищаем окно. Моем стекла, протираем рамы, убираем грязь в пазах. Очищаем фурнитуру с помощью щеткой. Вытираем все детали оконной системы. Обрабатываем крепеж, нанося на него силиконовую смазку. При необходимости выполняем полировку пластиковых окон. Определив положение цапфы, регулируем его. Снова смазываем крепеж, затем наносим смазку на петли. Точность регулировки проверяем, используя лист бумаги. Протягиваем его между закрытой рамой и створкой. Проходит «со скрипом» со всех сторон? Цапфы в правильном положении.
- Регулируем фурнитуру на стеклянных пакетах, используя отвертку, ключ-шестигранник. Цапфу вытягиваем наружу и регулируем. Правильно зафиксированные эксцентрики утапливаем в створке.
- Меняем регулировку прижима окна. Перед этим оцените климатические условия. Манипуляция выполняется максимум дважды в год. Притом в режиме «зима» профиль эксплуатируется дольше.


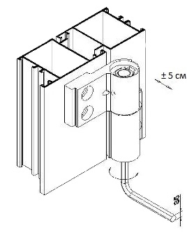
Настройка эксцентриков
- Подготавливаем створки, чтобы регулировать их вертикальное/горизонтальное положение. Они не должны перекашиваться, провисать, иначе возникнут помехи для открывания/закрывания, быстро износится уплотнительный контур. Обводим створку по периметру мягким карандашом, оставляя след грифеля на раме. Открываем окно и меряем интервал между проемом рамы и карандашной разметкой со всех сторон. Важно, чтобы интервал был одинаковым. Отклонение не должно превышать 7 мм. Кромки слева и справа на разном уровне? Их нужно корректировать. С этой целью снимается декоративная вставка, подкручиваются нижние винты.
1)





1)Регулировка режима створки
2)Регулировка положения створки по горизонтали
3)Регулировка положения створки по вертикали
- При необходимости поднимаем створку. Наполовину выкручиваем верхний винт. При завышении уровня местоположения створки закручиваем крепежные элементы на ¼ оборота, при занижении — выкручиваем. Как отрегулировать окна на зиму по горизонтали? С помощью винтов на петлях.
- Настраиваем профили по горизонтали. Открываем окно, находим паз под шестигранник, плавно вращаем винт, добиваясь выравнивания створки. Проверяем регулировку.
- Проверяем качество настройки, закрывая профиль. Для сокращения интервала между створкой и петлей шестигранник поворачиваем по часовой стрелке, для увеличения — в противоположном направлении. При профилактике окон сильно смещать систему по горизонтали нельзя. Предельно допустимый показатель в любом направлении — 3 мм.
-
Проверяем регулировку. Убедитесь, что:
- нет никаких помех свободному ходу створок, они открываются и закрываются без препятствий;
- система не скрипит, не слышны посторонние звуки;
- поддерживающие створку винты зафиксированы верно, ввинчены приблизительно одинаково;
- форма и толщина уплотнительного контура по периметру профиля одинаковы;
- когда створка открывается, закрывается, уплотнитель принимает исходную конфигурацию.
- Заклинивший ролик вытягиваем поворотом на прямой угол из соответствующего паза на фиксаторе. Манипуляция не помогает решить проблему? Смазываем элемент аэрозольным составом WD-40.
- Устраняем продувания, меняя уплотнительный контур. При установке системы в режим «зима» остекление сквозит? Значит, износилась уплотнительная резина. Чтобы ее заменить, извлеките из рамы и створки устаревший материал и поместите вместо него новый. Так как уплотнитель сварен с пластиком в углах, резину необходимо подрезать для ее извлечения.
Теперь вы знаете, как основательно провести подготовку окон к зиме своими руками. Воспользуйтесь предложенными рекомендациями перед наступлением холодного сезона. Следуйте инструкции, как подготовить окно к зиме, и вы сможете дольше наслаждаться комфортом, теплом и уютом, которые помогает поддерживать современное остекление из ПВХ.


Зимой невозможно полноценно пользоваться балконом из-за холода? В ваших силах это изменить. С помощью внутреннего утепления превратите помещение в уютную, удобную комнату для круглогодичной эксплуатации. Узнайте, как правильно утеплить балкон внутри своими руками. Наши рекомендации помогут вам выбрать материалы и провести утеплительные работы.


Измерять окно необходимо предельно внимательно, чтобы оно точно соответствовало габаритам проема. Если на этапе замеров все было сделано правильно, с установкой и эксплуатацией проблем не возникнет. Как правило, замеры проводит мастер от оконной компании. Хотите выполнить измерения самостоятельно? Узнайте, как сделать замер окна правильно.