

Вспомнилась ситуация, случившаяся с одними моими знакомыми еще в 90х годах, когда не было пластиковых дверей и окон, а только старые деревянные конструкции со шпингалетами.
Пока мама вышла на балкон повесить белье, маленький ребенок закрыл балконную дверь на шпингалет и не смог открыть его. Картина маслом.
С современными дверьми такое исключается, ручка находится высоко, а сама конструкция оснащается удобными защелками, которые легко открываются с любой стороны.
О них и пойдет речь в моем сегодняшнем рассказе.
Замок для балконной двери: виды, конструкции и особенности работы


Использование такой двери удобно и практично, в уходе за ней не потребуется периодическое перекрашивание поверхности, и срок ее службы намного больше, чем у деревянной двери.
Но для того чтобы пластиковая дверь выполняла все возложенные на нее функции долго и безупречно, необходимо, чтобы она была правильно отрегулирована и имела прочную и надежную фурнитуру.
Основными используемыми элементами фурнитуры для пластиковых конструкций являются ручка и замок. Именно от их качества зависит, как долго прослужит дверь и насколько комфортно будет ею пользоваться.
Основные характеристики, которым она должна соответствовать:
- степень износоустойчивости;
- максимальная прочность;
- эстетичный внешний вид;
- соответствие стандартам качества;
- оптимальная цена.
Качественная и надежная фурнитура не может стоить дешево, но соответствие «цена – качество» должно соблюдаться.
Особенности балконной дверной ручки
Залогом долгой и надежной эксплуатации ручки и замка, установленных на балконной двери, является хорошее качество материала, из которого они произведены.
Надежное изделие должно прослужить достаточно долго и рассчитано более чем на 20 тысяч циклических открытий и закрытий.
Наиболее распространенной ручкой для балконной двери является односторонняя поворотная, которая устанавливается со стороны комнаты.
Она имеет несколько положений, в которых ее можно зафиксировать, и в зависимости от этого дверь будет плотно закрыта, находиться на микропроветривании или открыта.
Режим микропроветривания – это полезная функция, она позволяет удерживать дверное полотно в таком положении, когда между ним и общим блоком образовывается небольшой зазор, через который в комнату проникает свежий воздух.

Замок такой конструкции имеет две ручки, расположенные с разных сторон балконной двери, и соединенный между собой единым запорным устройством.
Она выполняет такие же функции, как и односторонняя, но ею можно воспользоваться как со стороны комнаты, так и балкона. Это делает более удобным и функциональным использование замка и всей двери в целом.
Можно использовать для балконной двери многозапорную ручку, кроме обычного поворотного механизма она оснащена специальным запорным устройством.
Это может быть кнопка или замок с ключом, расположенные на внутренней части дверной ручки.
Блокировка происходит путем нажатия на соответствующую кнопку или поворотом ключа изнутри помещения, разблокировать дверь также просто, достаточно вернуть механизм блокировки в начальное положение.
Использование детского замка для балконной двери – это безопасный способ проветривания помещения.
Приоткрываясь на несколько сантиметров, замок удерживает дверь и не дает возможность ее распахнуть, эта полезная функция обезопасит от незапланированного попадания на балкон маленьких детей.
Особенности защелки пластиковой двери
Защелка, установленная на пластиковой двери, позволяет зафиксировать ее и удержать от распахивания при незакрытом замке.
Иначе ее называют защелкой курильщика. Она удобна тем, что, выходя на балкон, необязательно плотное закрытие двери на замок.


По механизму фиксации различают несколько видов защелок:
- роликовая;
- магнитная;
- фалевая.
Роликовая защелка состоит из ролика, который вмонтирован в специальную металлическую коробку, и подпирающей его пружины. На балконной раме устанавливается специальный паз, в которую входит ролик при закрывании двери.
Такая защелка надежно справляется с удержанием полотна в прикрытом состоянии, а для того чтобы его открыть, не придется применять много силы, достаточно легкого толчка внутрь комнаты.
Магнитная защелка состоит из двух планок: металлической и магнитной. Металлическая планка крепится к двери, а магнитная на таком же уровне на раме.
Механизм срабатывания щеколды прост, как у обычного магнита.
Такая защелка имеет достаточно длительный срок эксплуатации и работает даже при небольших перекосах балконного проема.
Фалевая защелка сделана по принципу роликовой. Она имеет щеколду, подпираемую пружиной, и закрывает балкон попаданием этой щеколды в специальный паз.
Для того чтобы открыть фалевую защелку, необходима специальная ручка с поворотным механизмом, потому что щеколда имеет форму язычка и, попадая в паз, фиксируется в нем и в обратную сторону не открывается.
Если произошел перекос или проседание дверного полотна, то роликовую и фалевую защелки придется регулировать для того, чтобы рабочая щеколда плавно и равномерно входила в паз.
Эти защелки при закрывании издают характерный звук, похожий на щелчок. Магнитная защелка более тихая, и поэтому не потревожит окружающих.
Наружная балконная ручка


Эта ручка имеет форму ракушки и изготавливается из пластика или металла.
Размещают ее на уровне с поворотной ручкой или так, чтобы было удобно для закрывания.
Изготовленная из пластика ручка приятнее на ощупь во время холодов, а металлическая более прочная, поэтому прослужит дольше.
Проблемы эксплуатации замка на балконной двери
В процессе эксплуатации ручка и замок для балконной двери, как и любой другой механизм, могут начать плохо поворачиваться или при открывании заедать.
Эту проблему можно устранить, используя специальные средства для смазки фурнитуры замка.
Такие смазочные материалы не должны содержать в своем составе агрессивных смол и кислот, которые могут испортить как внешний вид пластиковой двери, так и составляющие самого замка или ручки.
Причинами выхода из строя замка и ручки на балконной двери могут быть различные:
- неверная эксплуатация;
- недостаточный уход или его полное отсутствие;
- износ частей или всего устройства в процессе эксплуатации;
- повреждения механизма или целостности фурнитуры;
- перекос массива дверей;
- плохое качество материалов, из которых произведены механизмы.


В случае, если проблема более существенная и связана с приходом в негодность элементов конструкции, существует возможность замены частей замка или всего механизма.
Правильному выбору фурнитуры следует уделять особое внимание, на таких мелочах не рекомендуется экономить.
От качественной работы подвижных механизмов зависит, справится ли дверная конструкция с той функцией, которая на нее возложена.
Для того чтобы фурнитура балкона в целом гармонично вписались в общий интерьер квартиры, на рынке представлено большое количество различных форм и цветов дверных ручек и замков.
Это дает возможность выбрать подходящий вариант на любой вкус и запросы.
Замок, защелка на балконную дверь
Магнитный замок + ручка
Новейший комплект фурнитуры Roto, рекомендованный для установки на балконную дверь.
В комплект входит: магнит в сером пластиковом корпусе, устанавливаеый в фурнитурный паз дверной рамы ПВХ, ответная металлическая часть закрепляемая на центральном запоре балконной двери + фальш-ручка «лепесток».


Поскольку крепеж функциональных элементов осуществляется в торцевой части профиля — они не видны ни с улицы, ни со стороны помещения, таким образом сохраняя эстетику балконной двери.
Магнитный замок Roto имеет то преимущество в сравнении с аналогами, что не исстирается со временем, поэтому степень прижима и надежность фиксации дверного полотна остается неизменной, поломки комплекта практически исключены.
Магнитный замок полностью совместим с фурнитурой Roto NT. Вы можете спокойно заменить старую защелку на новый магнитный замок, купить который можно во всех офисах оконной компании Бизнес-М.
Механическая защелка + ручка на балконную дверь
Механический прижим — это классический замок компании Roto для балконных дверей. Позволяющий закрывать балконную дверь за счет пружинного механизма защелкивания.
Состоит из двух деталей: одна (грибок) крепится на створку двери, другая (захват) — на раму.
Принцип действия: Выходя наружу потяните дверь за ручку-лепесток и механизм замка надежно фиксирует створку вплотную к раме.
Дверное полотно не откроется от порыва ветра, тем не менее дверь можно открыть путем легкого нажатия.
Как еще улучшить функционал своего балконного блока?
Для этого всего лишь надо использовать в нижней части двери не стеклопакет, а непрозрачное заполнение из сэндвич-панели.
Лишь незначительное изменение двери балкона может оказать существенную помощь в случае возникновения нестандартной, но тем не менее, жизненной ситуации.
Случай из жизни:
«…хозяин квартиры оказался запертым на балконе своим же ребенком. Попытки объяснить как открыть балконную дверь, впавшему в истерику 4-х летнему малышу, — не привели к успеху. Благо балкон был на втором этаже и хозяин попросил вызвать МЧС прохожих. По пожарной лестнице поднялись прибывшие спасатели на балкон. Дверь удалось открыть только деформировав профиль и некоторые элементы фурнитуры. Балконный блок после этого подлежал полной замене.»
Если бы хозяин знал, что проникнуть в дом можно всего лишь выбив стекло или нижнюю сэндвич-панель, то он бы существенно сэкономил.
В случае с сэндвич-панелью, стоимость ремонта не превысила бы и 1000 рублей.
Помимо того, что сэндвич-панель для балконной двери стоит совсем недорого, изготовить его под размер проема можно очень быстро: восстановить прежний вид пластиковой двери можно было в течение одного дня!
Балконная магнитная защелка для пластиковых дверей: самостоятельная замена
Уже не раз обсуждались основные преимущества и достоинства пластиковых балконных дверей и окон.
Все их знают и ни для кого не секрет, что они удобны, практичны и долговечны.
Но вот, что такое магнитная защелка для двери и как ее заменить самостоятельно? Зачем она вообще нужна?
Простой, казалось бы, вопрос, на который многие современные обыватели ответить не смогут при всем желании.
Такие магнитные защелки на пластиковые балконные двери предназначены для того, чтобы при выходе на лоджию иметь возможность держать закрытой дверь, не допуская при этом сквозняков.
Выбираем магнитную защелку


В случае поломки магнитной защелки на дверях, которые выходят на балкон или лоджию, понадобится ее полная замена.
И это легко можно сделать самостоятельно в домашних условиях, просто внимательно прочитав эту статью.
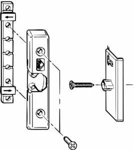
Для выполнения работы по замене балконной защелки на пластиковой двери начинающему строителю понадобится некоторый инструмент:
- желательно две отвертки плоская и крестовая;
- обыкновенные плоскогубцы;
- для удобства работы шуруповерт с насадками.
Самостоятельно меняем магнитную защелку


Первое что необходимо сделать перед началом работы снять старую, вышедшую из строя защелку на двери, которая выходит на балкон или лоджию. Для быстрого выполнения этой части работы удобно использовать шуруповерт.
Самым главным и важным этапом в замене магнитной защелки на пластиковых дверях является правильный выбор размер шурупа. При установке оконной ручки на дверях шурупы не должны превышать более 19 мм.
Большие их размеры выбирать не желательно и даже опасно, потому что при эксплуатации они могут упереться в стекло и даже значительно его повредить.
Аккуратно и очень внимательно, прикрутив оконную ручку шуроповетром на пластиковые двери, переходим к следующему этапу.
Для этой работы вам понадобится шурупы длиной 30-35 мм. Предварительно одев металлический цилиндр на шуруп, закручиваем его на уровне оконной ручки.
Шуруп выбираем такого размера для того, чтобы при условии, что если цилиндр заберет какое-то расстояние, нам просто необходимо обеспечить запас прочности на всякий случай.
Ведь основная задача цилиндра состоит в удерживании пластиковых дверей в закрытом состоянии, при этом беря на себя большую нагрузку.
Теперь, когда цилиндр правильно установлен на положенное место, переходим к крепежу балконной магнитной защелки на пластиковые двери.
Вооружившись обыкновенным карандашом, аккуратно прикрываем дверь в месте примерного вхождения цилиндра. Затем внимательно отмечаем то место на двери, где будем крепить защелку.


- сначала вкручиваем шуруп сверху и проверяем, как входит цилиндр в магнитную защелку.
Если вы сделали замер точно и по всем правилам, то закрывание пластиковых дверей будет свободным и плавным.
- если вы сделали все правильно с верхней частью, можно закручивать нижний шуруп.
После окончательного закрепления магнитной защелки необходимо проверить насколько крепко она держит.
Если защелка на пластиковой двери держит плохо, то необходимо под нее подложить шайбы и снова проверить ее работу. Подкладывать шайбы необходимо до тех пор, пока не получите качественный и нужный вам результат.
Балконные двери бывают разные по размерам и конструкции. И возможно, что одной магнитной защелки может не хватить для удержания пластиковых дверей, и при сквозняке они будут постоянно открываться.
В таком случае необходимо будет установить вторую балконную магнитную защелку на пластиковые двери фото.
После закрепления дополнительной защелки необходимо тщательно проверить несколько раз насколько крепко и плотно держится дверь.
Если у вас после прочтения данной статьи возникнут вопросы по установке защелки на дверях, будет полезно посмотреть видео в интернете или почитать статьи.
Это поможет вам более внимательно разобраться в монтаже магнита на дверь еще раз и лучше закрепить материал.
Когда работа будет успешно и качественно выполнена самостоятельно, можно будет наслаждаться удобством в использовании этого простого приспособления.
А также гордится перед ближайшими родственниками и домочадцами плодами своего труда, выходя каждый раз на балкон или лоджию.
Установка балконных защелок
Балконная защелка, выполняет функцию фиксатора балконной двери и является удобным для использования механизмом.


Перед установкой необходимо выбрать нужную балконную защелку.
Большая часть балконных защелок взаимно заменяемы, т.е. (одна и та же балконная защелка может подходить к нескольким видам оконной фурнитуры). Но не всегда!
Поэтому для более корректной установки балконной защелки рекомендуем устанавливать защелку, именно той фурнитуры, которая установлена на вашем окне.
Так же необходимо знать название и систему профиля, из которого сделаны Ваши окна (обычно их два вида 9-ая и 13-ая системы).
Таким образом, для выбора и установки балконной защелки необходимо знать два основных параметра:
- Название фурнитуры Вашего окна
- Название и систему профиля из которого сделано Ваше окно.
Для установки балконной защелки потребуется:
- Балконная защелка с фиксатором
- Три винта для (крепления балконной защелки и фиксатора)
- Простой карандаш
- Шуруповерт либо крестовая отвертка.
Балконная защелка состоит из двух частей: (балконной защелки и фиксатора).
Балконная защелка устанавливается непосредственно на раму, фиксатор в посадочное место фурнитуры балконной двери.
На фурнитуре вашей балконной двери найдите посадочное место и установите фиксатор балконной защелки с помощью винта.
Прикройте немного балконную дверь, и на раме на против фиксатора балконной защелки простым карандашом поставьте риску, которая будет обозначать центр расположения балконной защелки.
Затем установите балконную защелку строго по центру вашей отметки. Проверьте работоспособность механизма.
Так же после установки балконной защелки, Вам может потребоваться установка балконной ручки.
Балконная защелка: особенности монтажа, виды, преимущества использования
Стремительное развитие современных технологий позволяет значительно облегчить жизнь человека, создавать комфорт и удобство от их использования.
Такими вариантами современной фурнитуры стала защелка на пластиковую балконную дверь.
Эти механизмы рассчитаны на то, чтобы выдерживать сильные порывы ветра, но при этом для человека открыть ее не составит никакого труда. Принцип их действия несложный, он аналогичен старым защелкам на кухонных шкафчиках.
Для установки на пластиковую балконную дверь можно использовать:
- Механическую защелку. Она закрывается снаружи. Такие механизмы обязательно имеют «ручку курильщика». Для изготовления используется металл, который окрашивается в нужный заказчику цвет;
- Магнитная балконная защелка. Такой механизм будет оптимальным вариантом, он обеспечивает плавное и тихое закрытие двери, дает возможность выходить на балкон с занятыми руками. Дверь будет закрываться сама, вам необходимо только легонько потянуть за ручку. Также этот механизм отлично помогает, если в доме есть курильщик. При срабатывании магнитной защелки, дверь плотно закрывается, и вы избежите проникновения холодного воздуха и сигаретного дыма в комнату.
Защелка на пластиковую балконную дверь: советы по выбору механизма
Чтобы выбрать правильный механизм магнитной защелки, необходимо знать существующие виды.
- Роликовая защелка. Принцип действия этого механизма основан на срабатывании ролика и подпирании пружиной при закрытии. Когда дверь закрывается, ролик срабатывает под воздействием пружины, и защелкивается в установленный паз. Эти защелки работают без поломок. Основной недостаток – при небольшом проседании балконной двери, придется регулировать не только сами механизмы, но и роликовую защелку, так как ролик перестанет попадать в паз, и дверь не будет закрываться вообще.
- Фалевая защелка. По своему действию она очень схожа с роликовой. Пружина подпирает изнутри косоугольный механизм. Но в этом случае понадобится и установка поворотной ручки, чтобы выходить на балкон. Основной недостаток – неудобство открывания, если у вас заняты бельем руки. И небольшой перекос двери не даст закрыться и зафиксироваться защелке.
- Магнитная защелка. Она будет оптимальным вариантом именно для пластиковой двери. У вас будет обеспечено плотное закрывание при выходе на балкон.
Этот вариант специалисты считают самым прочным и долговечным, так как при выходе и входе вы не прикладываете особые усилия для открывания двери. Даже если дверь провисла, защелка все равно срабатывает. Магнит фиксирует планку в любом положении.
Обратите особое внимание на показатели количества усилий, которые необходимо прилагать для открывания.
При минимальных показателях возможна не герметичность, а максимальные – создадут дополнительный шум – хлопок при контакте двух частей магнитной защелки.
Как установить магнитную балконную защелку
Установка защелки на балконную дверь не вызывает особых трудностей. Вам будут необходимы такие инструменты:
- Отвертки: крестообразная, плоская;
- Шуруповерт с насадками на 1,5, 2,5, 4,5 миллиметров;
- Рулетка;
- Карандаш;
- Угловая линейка.
Существует несколько вариантов установки защелки на балконную дверь.
С помощью карандаша или маркера отмечаем место механической защелки. Шуруповертом просверливаем отверстия (оно должно быть меньше, чем сам шуруп) и прикручиваем защелку.
Устанавливаем защелку балконной двери магнитную по той же схеме, как и механическую. Но здесь нужно потрудиться над совпадением мест, где крепятся обе накладки.
Используйте рулетку, которая поможет определить одинаковое расстояние.
Если вы не бережно эксплуатируете защелки на магните, то они очень быстро портятся. Мелкому ремонту эти механизмы не подлежать, нужна только полная замена.
Где купить балконную защелку?
Сегодня балконные защелки представлены в огромном ассортименте. Различные фирмы предлагают свой товар, но при покупке следует обратить особое внимание на наличие гарантийных обязательств и сертификата качества.


Но лучшим вариантом станет заказ двери и комплектующих у специалистов. Ведь профессиональные специалисты смогут предусмотреть все нюансы, выполнить быструю и качественную установку.
Защелки немецкого производителя Зигения подходят для монтажа на любую фурнитуру как для деревянных, так и пластиковых дверей.
Единственное, что вы должны знать – название профиля, из которого сделана дверь. Не забывайте и о покупке цапфы – ответной части, которая необходима для качественной работы защелки.
При заказе защелки учитывайте, что оригинальные Roto, Maco, Siegenia крепятся только на подходящий для них профиль.
Если вы правильно и грамотно выберите защелку для своей пластиковой балконной двери, то удобство действий и многофункциональность вам гарантирована.